Published:2009/7/17 2:52:00 Author:Jessie | From:SeekIC


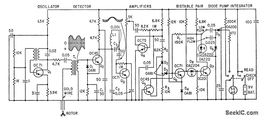
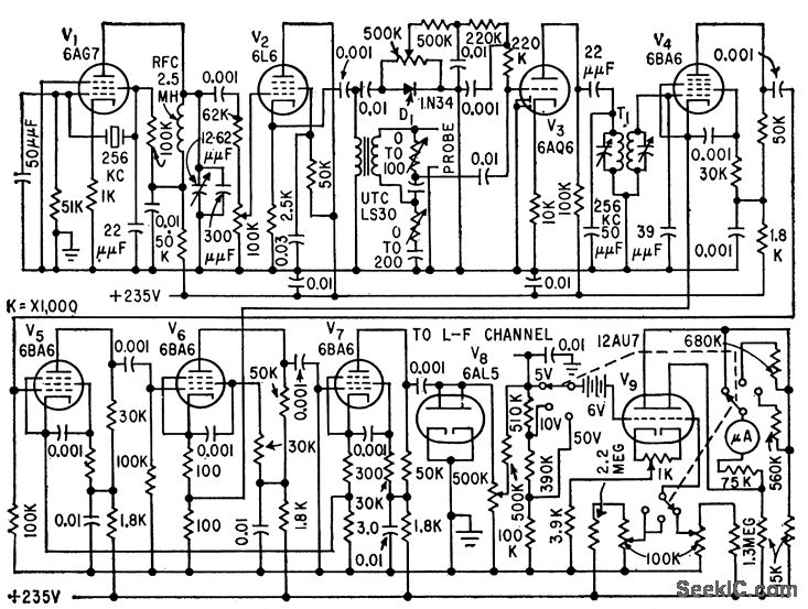
High-frequency channel (256 kc) compensates for variation in probe-to-specimen spacing in eddy-current thickness gage for measuring cladding on reactor fuel elements.-W. J.McGonnagle, C. J. Renken, and R. G. Myers, Improved Nondestructive Testing by Eddy-Currents, Electronics, 32:35, p 42-43.
Reprinted Url Of This Article:
http://www.seekic.com/circuit_diagram/Power_Supply_Circuit/THICKNESS_GAGE_COMPENSATOR.html
Print this Page | Comments | Reading(3)
Code: