Published:2009/7/15 2:13:00 Author:Jessie | From:SeekIC

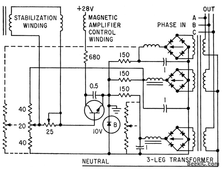
When used with three-phase static inverter employing scr's and magnetic amplifiers, provides 25.millisec recovery time when load is switched from 2.5 amp to 0. The three bridges use one zener diode in common as non-linear element. Silicon transistor amplifies unbalance in each bridge.-M. Lilienstein, Static Inverter Delivers Regulated 3-Phase Power, Electronics, 33:28, p 55-59.
Reprinted Url Of This Article:
http://www.seekic.com/circuit_diagram/Power_Supply_Circuit/THREE_PHASE_REGULATOR.html
Print this Page | Comments | Reading(3)
Code: