Published:2009/7/20 3:10:00 Author:Jessie | From:SeekIC

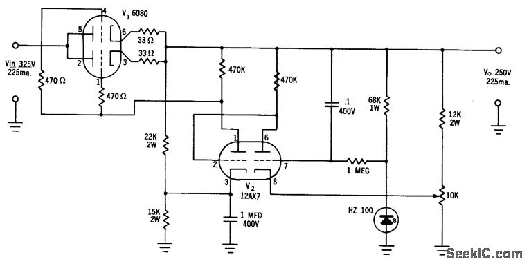
Regulates within 0.2 v from no load lo full load. Variation of 10% in line voltage causes only 0.1 v output change.- Zener Diode Handbook, Intenational Rectifier Corp., 1960, p 59.
Reprinted Url Of This Article:
http://www.seekic.com/circuit_diagram/Power_Supply_Circuit/TUBE_ZENER_REGULATOR.html
Print this Page | Comments | Reading(3)
Code: