Published:2009/7/17 2:54:00 Author:Jessie | From:SeekIC

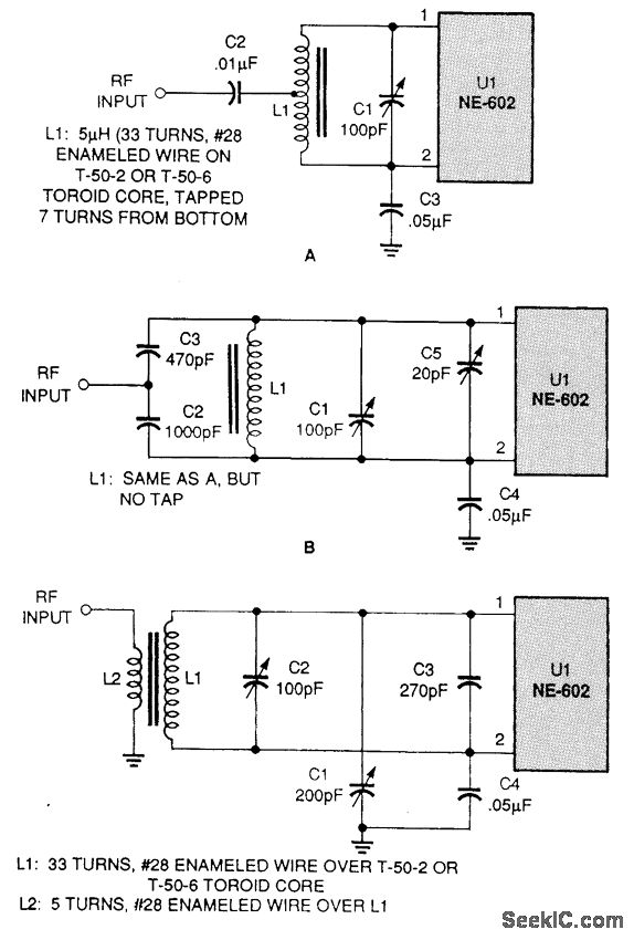
Here are three tuned input circuits. A tapped-inductor LC tuned circuit is shown in A and a flexible-tuned input circuit that can be used in a variety of situations is shown in C.
Reprinted Url Of This Article:
http://www.seekic.com/circuit_diagram/Power_Supply_Circuit/TUNED_INPUT_CIRCUITS_FOR_NE6O2.html
Print this Page | Comments | Reading(3)
Code: