Published:2009/7/20 2:15:00 Author:Jessie | From:SeekIC

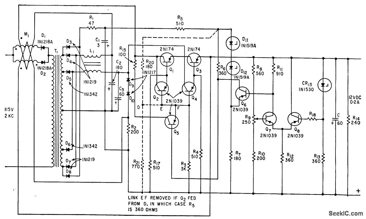
Transformer provides two voltages, one for normal operation and the other to supply current during transients. Storage capacitance is only one-tenth of that needed with conventional series regulator.-F. L. Ward, Novel Bi-Level Regulator Reduces Storage Capacitance, Electronics, 35:32, p 74-75.
Reprinted Url Of This Article:
http://www.seekic.com/circuit_diagram/Power_Supply_Circuit/TWO_LEVEL_REGULATION_FOR_12_V_AT_02A.html
Print this Page | Comments | Reading(3)
Code: