Published:2009/7/24 5:15:00 Author:Jessie | From:SeekIC

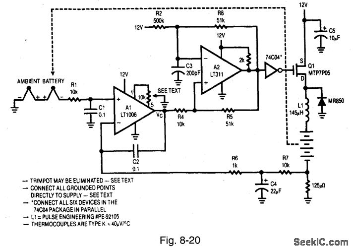
Figure 8-19 shows a thermally based NiCad charger operated in the switching mode. The circuits of Figs. 8-15 and 8-18 both force the transistor to dissipate some power, and the resulting heat might be a problem in a small enclosure (typical of micropower circuits). The circuit of Fig. 8-19 relies on the source impedance of the wall transformer to limit current through Q1 and the battery pack. The source impedance can be set when specifying the transformer. LINEAR TECHNQLOGY, APPLICATION NOTE 37, P. 3.
Reprinted Url Of This Article:
http://www.seekic.com/circuit_diagram/Power_Supply_Circuit/Thermally_based_NiCad_charger_with_low_imynedance_charging_source.html
Print this Page | Comments | Reading(3)
Code: