Published:2009/7/21 5:25:00 Author:Jessie | From:SeekIC

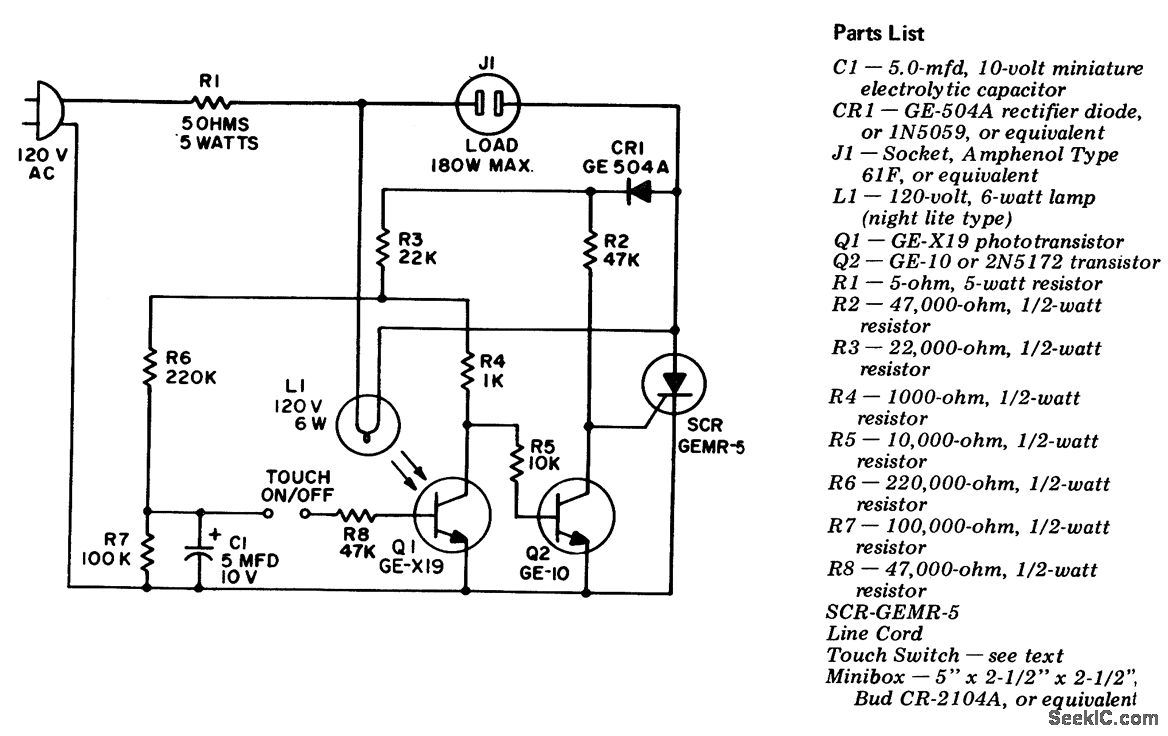
Touch switch for loads up to 180 watts. This circuit is good for turning on and off lights, TVs, stereos, etc. Q1 is a phototransistor (courtesy General Electric Company).
Reprinted Url Of This Article:
http://www.seekic.com/circuit_diagram/Power_Supply_Circuit/Touch_switch_for_loads_up_to_180_watts.html
Print this Page | Comments | Reading(3)
Code: