Published:2009/7/21 5:06:00 Author:Jessie | From:SeekIC

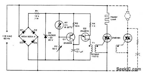
Triac temperature-sensitive heater control. This circuit can be modified as shown to control a motor with a constant load. As shown the circuit is for heating applications but can be used for cooling by interchanging RT and R2 (courtesy Motorola Semiconductor Products Inc.).
Reprinted Url Of This Article:
http://www.seekic.com/circuit_diagram/Power_Supply_Circuit/Triac_temperature_sensitive_heater_control.html
Print this Page | Comments | Reading(3)
Code: