Published:2009/7/25 1:36:00 Author:Jessie | From:SeekIC

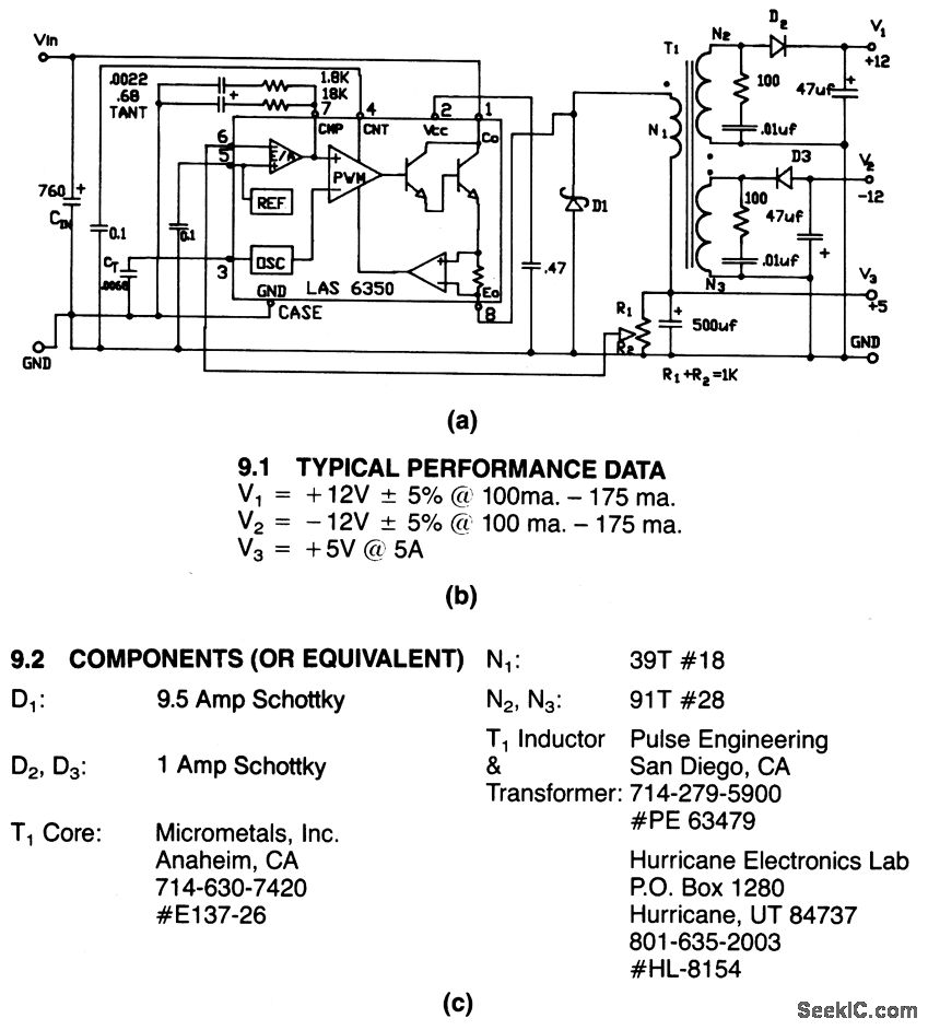
This circuit provides an adjustable +5-V and fixed ±12-V outputs,Figure 4-28B shows typical performance data,Figure 4-28C shows component source information.
Reprinted Url Of This Article:
http://www.seekic.com/circuit_diagram/Power_Supply_Circuit/Triple_output_supply_5V_at_5A_±12V_at_125mA.html
Print this Page | Comments | Reading(3)
Code: