Published:2009/7/17 4:38:00 Author:Jessie | From:SeekIC

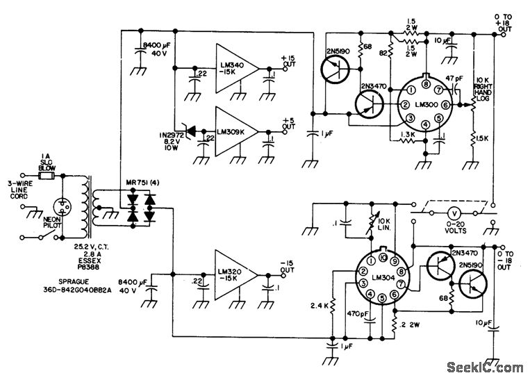
Provides three different fixed voltages and two variable, each regulated and each current-limited at 1.5 A for use on experimenter's bench. Use heatsinks for fixed voltage regulators and for output transistors. - N. Calvin, Universal Power Supply, 73 Magazine, Aug. 1974, p 65-66.
Reprinted Url Of This Article:
http://www.seekic.com/circuit_diagram/Power_Supply_Circuit/UNIVERSAL_SUPPLY.html
Print this Page | Comments | Reading(3)
Code: