Published:2009/7/24 4:04:00 Author:Jessie | From:SeekIC

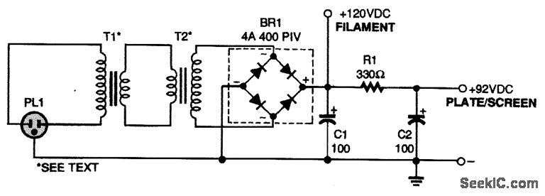
A suitable power supply that provides isolation from the 120-Vac line is shown. The circuit uses two filament transformers connected back to back. The secondary voltages can be almost any value, as long as they are equal. A 1:1 isolation transformer can be substituted, if available. The transformers should be rated at least 25 VA or more.
Reprinted Url Of This Article:
http://www.seekic.com/circuit_diagram/Power_Supply_Circuit/VACUUM_TUBE_AUDIO_AMPLIFIER_POWER_SUPPLY.html
Print this Page | Comments | Reading(3)
Code: