Published:2009/7/20 2:17:00 Author:Jessie | From:SeekIC

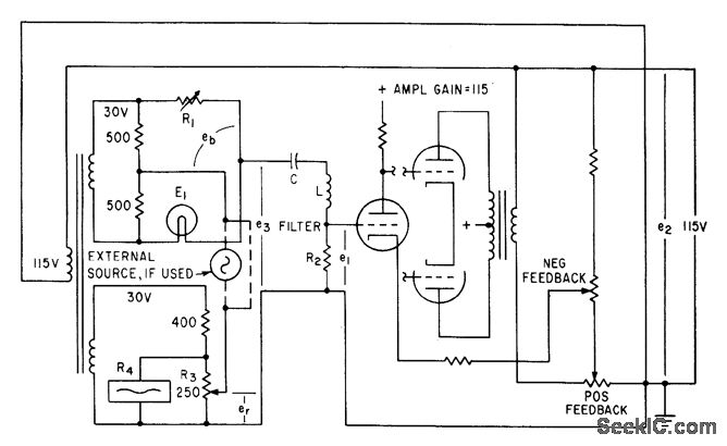
Commercial ballast tube in thermal regulating bridge is used with feedback-stabilized amp lifer and liter to regulate ac voltage source to 0.1%. Used for instrument calibration. Triode oscillator circuit oscillates al series resonant frequency of LC filter, which can be-tuned from 50 to 2,000 cps.-E. A Gilbert, Precision Variable Frequency Power Supply, Electronics, 34:2, p 99-100.
Reprinted Url Of This Article:
http://www.seekic.com/circuit_diagram/Power_Supply_Circuit/VARIABLE_FREQUENCY_A_C_REGULATOR.html
Print this Page | Comments | Reading(3)
Code: