Published:2009/7/24 2:04:00 Author:Jessie | From:SeekIC

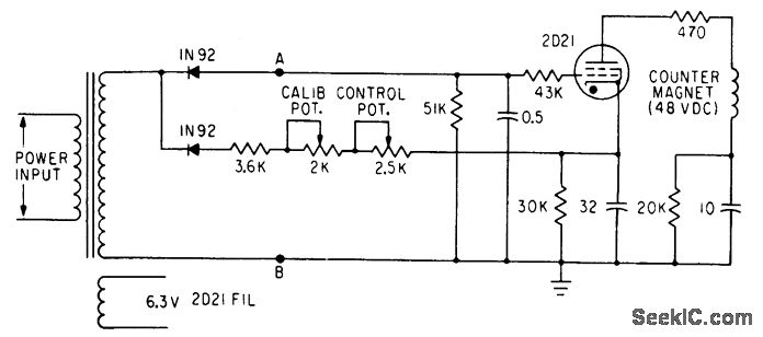
Each time a-c line voltage drops below adjustable threshold level, thyratron fires and operates electromagnetic counter. Used to count dips that might affect computer operation.-T. D. Koranye, Thyratron Monitors Line-Voltage Dips, Electronics, 34;1, p 126.
Reprinted Url Of This Article:
http://www.seekic.com/circuit_diagram/Power_Supply_Circuit/VOLTAGE_DIP_COUNTER.html
Print this Page | Comments | Reading(3)
Code: