Published:2009/7/23 23:02:00 Author:Jessie | From:SeekIC


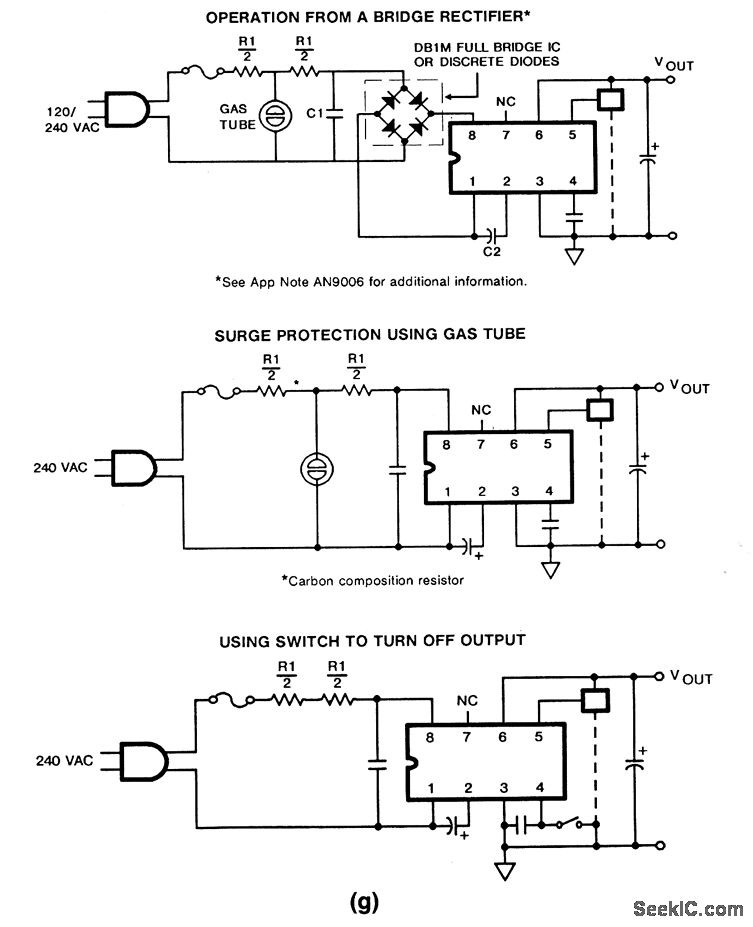
The HV-2405 converts ac into regulated dc, as described for the HV-1205 (Figs. 7-6 and 7-7), except that the HV-2405 operates from either 120 or 240 Vac (without special connections or a changeover switch). Recommended values for components shown in Figs. 7-8C through 7-8G are as follows: fuse F1=1/2 A, 2AG; R1=150 g; C1=0.05 μF, ac rated; MOV=V130LA20, or gas tube, which arcs at less than 500 V for 240 V use; C2, C3, C4, R2, RA, RB, and VZ are the same as for HV-1205. The HV-2405 does not provide isolation from the line (both ground and ac return are above ground).
Reprinted Url Of This Article:
http://www.seekic.com/circuit_diagram/Power_Supply_Circuit/Worldwide_single_chip_supply.html
Print this Page | Comments | Reading(3)
Code: