Published:2009/7/23 23:03:00 Author:Jessie | From:SeekIC

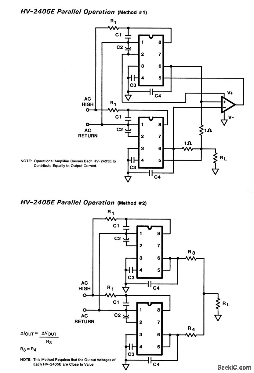
These two circuits show two HV-2405 single-chip supplies (Fig. 7-8) connected in parallel to increase current capability.
Reprinted Url Of This Article:
http://www.seekic.com/circuit_diagram/Power_Supply_Circuit/Worldwide_single_chip_supply_with_parallel_operation.html
Print this Page | Comments | Reading(3)
Code: