Published:2009/7/24 2:41:00 Author:Jessie | From:SeekIC

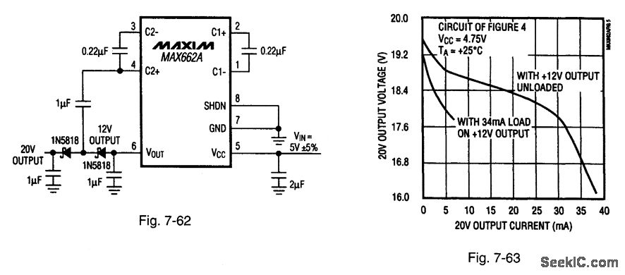
Figure 7-62 shows the MAX662A flash-memory supply (Figs. 7-58 through 7-61) used as a dual power supply. Figure 7-63 shows the output-current characteristics. Maxnvt NEW RELEASES DATA Book, 1995, P.4-80.
Reprinted Url Of This Article:
http://www.seekic.com/circuit_diagram/Power_Supply_Circuit/_12_1__and__20_V_dual_supply.html
Print this Page | Comments | Reading(3)
Code: