Published:2009/7/24 1:37:00 Author:Jessie | From:SeekIC





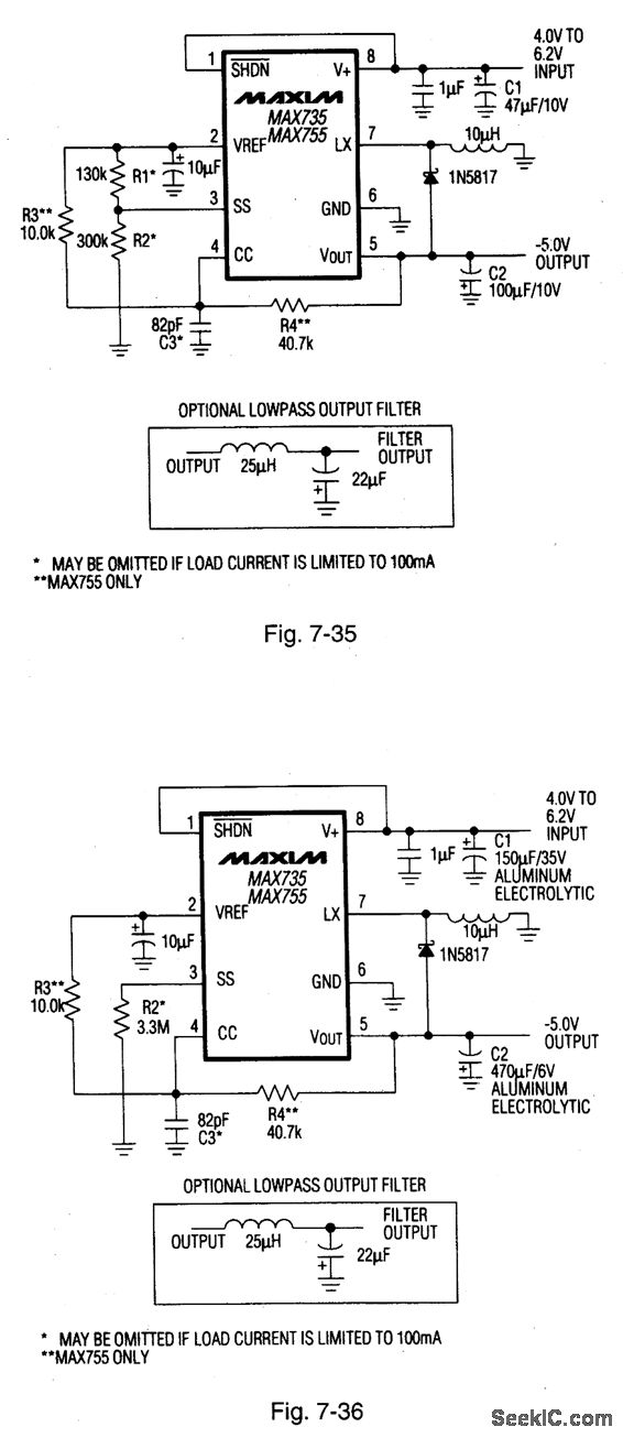
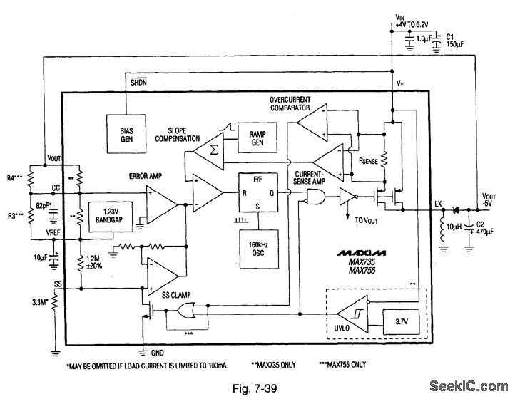
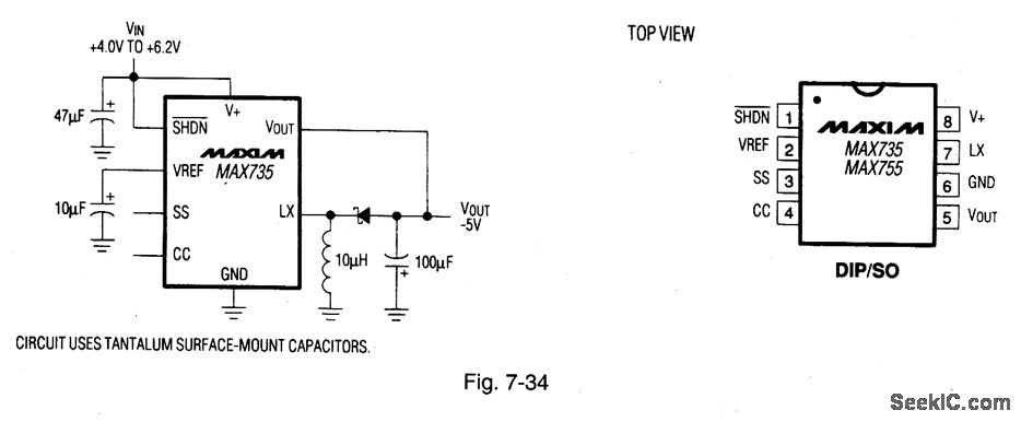
Figure 7-34 shows a MAX735 connected in a basic circuit to provide a 200-mA, -5-V output with a +4.0-V to +6.2-V input. Figure 7-35 shows the corresponding circuit using surface-mount components. Figure 7-36 shows the circuit using through-hole components (at commercial temperature ranges). Figure 7-37 shows the circuit using through-hole components (for all temperature ranges). Figure 7-38 shows component suppliers and Fig. 7-39 shows the block diagram with typical external components. The MAX755 operates from a +2.7-V to +9-V input and generates an adjustable negative output, depending qn the values of R3 and R4. The relationship is:Resistor R3 can be any value from 10 kΩ to 20 kΩ, VOUT is limited to 11.7 V -VIN. The quiescent current is 1.6 mA, with a 10-μA shutdown current. MAXIM NEW RELEASES DATA Book, 1994, P. 4-111, 4-115, 4-116, 4-117.
Reprinted Url Of This Article:
http://www.seekic.com/circuit_diagram/Power_Supply_Circuit/_5_V_adjustable_inverting_PWM_regulators.html
Print this Page | Comments | Reading(3)
Code: