Published:2009/7/22 21:04:00 Author:Jessie | From:SeekIC

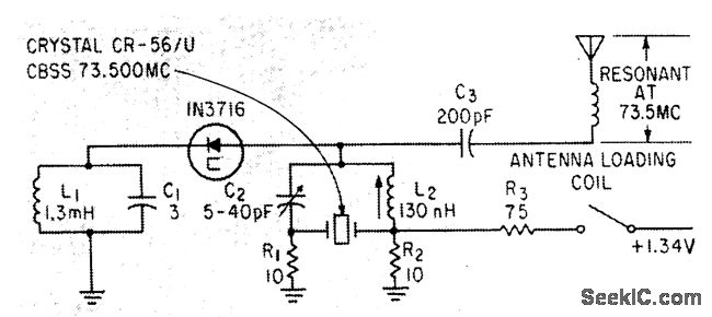
Self-modulated low-power oscillator for remote-controlled toys, trains, and garage doors can also be voice-modulated. Range is about 200 yards, and battery drain is 18 ma.-E. Gottlieb and J.Giorgis, Tunnel Diodes-Using Them as Sinusoidal Generators, Electronics, 36:24, p 36-42.
Reprinted Url Of This Article:
http://www.seekic.com/circuit_diagram/Remote_Control_Circuit/735_MC_CRYSTAL_CONTROLLED_TUNNEL_DIODE_TRANSMITTER.html
Print this Page | Comments | Reading(3)
Code: