Published:2011/7/20 6:22:00 Author:Fiona | Keyword: the monostabillity free-send device, Timer | From:SeekIC

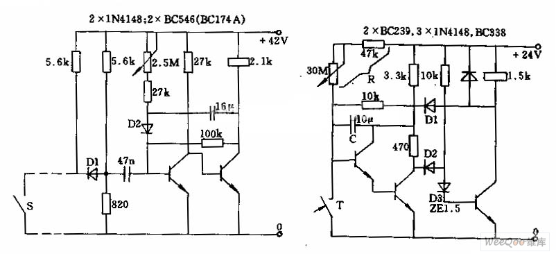
This circuit's characteristic is that input end has anti-interference protection measures to prevent malfunction caused by interference signals.In addition,the time process ends before the switch S is off,it increases reliability.
Reprinted Url Of This Article:
http://www.seekic.com/circuit_diagram/Remote_Control_Circuit/Timer_circuit_using_the_monostabillity_free_send_device.html
Print this Page | Comments | Reading(3)
Code: