Published:2009/6/17 23:04:00 Author:May | From:SeekIC

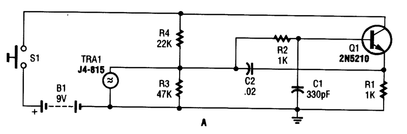
A GC Electronic P/N J4-815 ultrasonic transducer is used in this 40-kHz transmitter for remote-control application.
Reprinted Url Of This Article:
http://www.seekic.com/circuit_diagram/Remote_Control_Circuit/ULTRASONIC_REMOTE_CONTROL_TRANSMITTER.html
Print this Page | Comments | Reading(3)
Code: