Published:2009/7/20 6:12:00 Author:Jessie | From:SeekIC

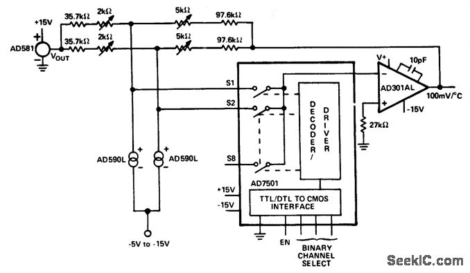
8-channel temperature multiplexer. An additional six temperature transducers should be added; only two are shown (courtesy Analog Devices, Inc.).
Reprinted Url Of This Article:
http://www.seekic.com/circuit_diagram/Sensor_Circuit/8_channel_temperature_multiplexer.html
Print this Page | Comments | Reading(3)
Code: