Published:2009/7/8 1:18:00 Author:May | From:SeekIC

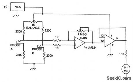
The differential thermometer uses two probes and shows the temperature difference between them, rather than the exact temperature. The thermometer uses a conventional meter as an indicator, and it covers a total range of 20 ° - 10 °low to 10 °high.
Reprinted Url Of This Article:
http://www.seekic.com/circuit_diagram/Sensor_Circuit/DIFFERENTIAL_THERMOMETER.html
Print this Page | Comments | Reading(3)
Code: