Published:2009/7/10 4:11:00 Author:May | From:SeekIC

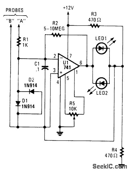
A high-gain amplifter using a UA741 is used to sense relative voltage drop in a conductor, and therefore current in the conductor. R2 can be increased to 10 MΩ for increased sensitivity. LEDt and LED2 provide polarity indication. This circuit can be used to detect current flowing in a PC board trace, and also for locating shorts and opens.
Reprinted Url Of This Article:
http://www.seekic.com/circuit_diagram/Sensor_Circuit/HIGH_GAIN_CURRENT_SENSOR.html
Print this Page | Comments | Reading(3)
Code: