Published:2009/6/19 4:44:00 Author:May | From:SeekIC

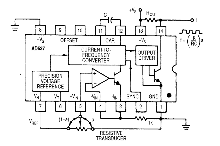
All types of resistive-element transducers, such as servo-pots, level indicators, thermistors, photosensors, strain gages, and so on, can be directly connected to the AD537. The scale-correction factor, K, is a function of resistance, varying from 0.65 to 0.98 for values from 3 to 100 kΩ.
Reprinted Url Of This Article:
http://www.seekic.com/circuit_diagram/Sensor_Circuit/INTERFACING_RESISTIVE_TRANSDUCERS.html
Print this Page | Comments | Reading(3)
Code: