Published:2009/6/25 2:43:00 Author:May | From:SeekIC

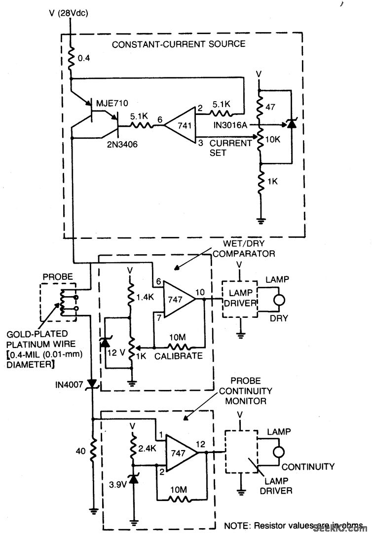
The sensor circuit is adaptable to different liquids and sensors. The constant-current source drives current through the sensing probe and a fixed resistor. The voltage-comparator circuits interpret the voltage drops to tell whether the probe is immersed in liquid and whether there is current in the probe.
Reprinted Url Of This Article:
http://www.seekic.com/circuit_diagram/Sensor_Circuit/LEVEL_SENSOR_FOR_CRYOGENIC_FLUIDS.html
Print this Page | Comments | Reading(3)
Code: