Published:2009/7/17 3:24:00 Author:Jessie | From:SeekIC

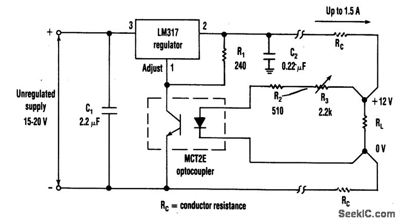
The optocoupler (as shown) provides load sensing for a 3-terminal regulator, such as the LM317 series. R1 sets a current of 5 mA through the optocoupler transistor and R3 is adjusted for 12 V across the load.
Reprinted Url Of This Article:
http://www.seekic.com/circuit_diagram/Sensor_Circuit/LM317_REGULATOR_SENSING.html
Print this Page | Comments | Reading(3)
Code: