© 2008-2012 SeekIC.com Corp.All Rights Reserved.
Published:2011/5/13 4:21:00 Author:Nicole | Keyword: MOS, image sensor, oscilloscope | From:SeekIC


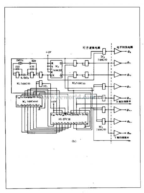
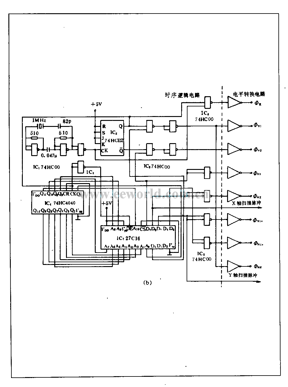
MOS image sensor is also called self scanning photodiode(SSPD), it is a solid image sensor in the late1960's. It is composed of some photodiodes, multiway MOS switch tube and scanning circuit which is integrated in a single crystal silicon. This device is divided into area array and linear array. MOS image sensor oscilloscope imaging circuit is suitable for the area devices with 32(H)×32(V) efficiency pixel. This circuit consists of temporal logic, level conversion circuit, preamplifier, sampling/maintenance and clamp circuit, A/D, D/D conversion circuit, latching storage circuit, image reduced circuit, power amplifier circuit, X, Y axis scanning circuit. The internal structure(a), surrounding drive circuit(b) and video signal processing circuit(c) are as below.
Reprinted Url Of This Article:
http://www.seekic.com/circuit_diagram/Sensor_Circuit/MOS_image_sensor_oscilloscope_imaging_circuit.html
Print this Page | Comments | Reading(3)
Response in 12 hours
© 2008-2012 SeekIC.com Corp.All Rights Reserved.
Code: