Published:2009/6/24 4:17:00 Author:Jessie | From:SeekIC

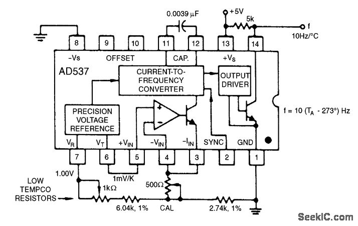
The 1.00-V reference output can be combined with the 1-mV/°K output to realize various temperature scales. For the Celsius scale, the lower end of the timing resistor must be offset by 273 mV. This is easily accomplished, and it results in an output from 0 to 1 kHz for temperatures from 0℃ to +100℃. Other offsets and scale factors are equally easy to implement.
Reprinted Url Of This Article:
http://www.seekic.com/circuit_diagram/Sensor_Circuit/TEMPERATURE_TO_FREQUENCY_CONVERTER_CELSIUS.html
Print this Page | Comments | Reading(3)
Code: