Published:2009/7/20 6:10:00 Author:Jessie | From:SeekIC

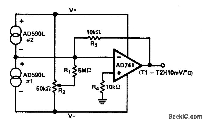
Temperature differential measurement circuit (courtesy Analog Devices, Inc.).
Reprinted Url Of This Article:
http://www.seekic.com/circuit_diagram/Sensor_Circuit/Temperature_differential_measurement_circuit.html
Print this Page | Comments | Reading(3)
Code: