Published:2009/7/22 3:31:00 Author:Jessie | From:SeekIC

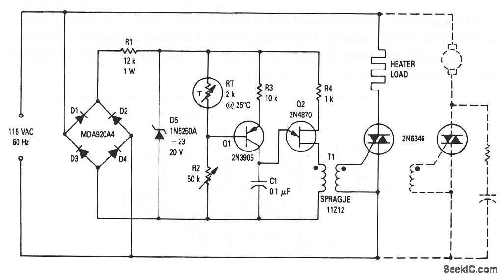
This circuit shows the basic UJT building block (Fig. 9-1) that is used to control an 800-W heater system. The simple RC circuit of Fig. 9-1 is replaced by Q1, RT and R2. Using phase control, the circuit is able to reduce power to the load as the desired temperature is reached, thus eliminating much of the overshoot inherent in mechanical controls. Although the circuit shown is for a heater, the circuit can also be used to control a constant-load motor (such as a blower motor), as indicated by the dotted portion of the diagram. The desired temperature is set by R2. The circuit can also be used for cooling by interchanging RT and R2.
Reprinted Url Of This Article:
http://www.seekic.com/circuit_diagram/Sensor_Circuit/Temperature_senstive_heater_control.html
Print this Page | Comments | Reading(3)
Code: