Published:2009/7/24 4:41:00 Author:Jessie | From:SeekIC

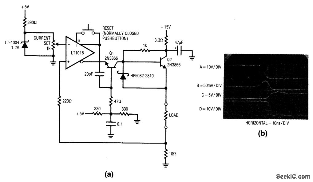
Fig. 15-23 This circuit uses a high-speed comparator (LT1016) to turn off current in a load 12 ns after the load exceeds a preset value. The circuit has been used to protect ICs during development and for protecting expensive loads during calibration. Under normal conditions, the voltage across the 10-Ω shunt is smaller than the potential at the LT1016 inverting input. This keeps Q1 off and Q2 receives bias, which drives the load, When an overload occurs (in this case via a test circuit, trace A, Fig. 15-23B) the current through the 10-Ω sense resistor begins to increase (trace B). When current exceeds the preset value, the LT1016 outputs reverse (the noninverting output is shown in trace C). This provides turn-on drive for Q1 and cuts Q2 off (Q2 emitter is trace D) in 5 ns. The delay from the onset of excessive load current to complete shutdown is 12 to 13 ns. Once the circuit is triggered, the LT1016 is held in the latched state by feedback from the noninverting output. When the load fault is cleared, the pushbutton can be used to reset the circuit. Linear Technology Linear Applications Handbook :990 p. AN13-24.
Reprinted Url Of This Article:
http://www.seekic.com/circuit_diagram/Signal_Processing/12_ns_circuit_breaker_using_a_comparator.html
Print this Page | Comments | Reading(3)
Code: