Published:2011/7/28 2:16:00 Author:Ecco | Keyword: 2.5kHz , Wien bridge , signal generator | From:SeekIC

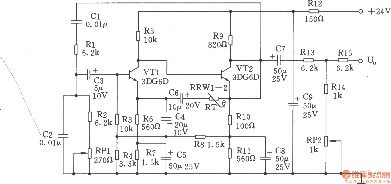
The 2.5kHz signal generator is a RC Wien low-bridge oscillator circuit, it is shown as the chart. Transistor VTl, VT2 form second order direct coupled amplifier.By inputting the bootstrap can improve the circuit's input impedance and decrease the impact on RC shift circuit. Connecting a T-attenuation device on output end can meet the requirement of inpedance output on one hand, on the other hand it also can reduce the influence of load on Rc shift circuit. Taking the measures, the oscillator frequency stability is mainly decided by the RC phase shift components. Rc components with low temperature coefficient is used, thus, the oscillator frequency is relatively stable (25 ℃ ± 15 ℃, the frequency changing ≤ ± 5Hz).
Reprinted Url Of This Article:
http://www.seekic.com/circuit_diagram/Signal_Processing/25kHz_Wien_bridge_signal_generator.html
Print this Page | Comments | Reading(3)
Code: