Published:2009/7/16 2:51:00 Author:Jessie | From:SeekIC

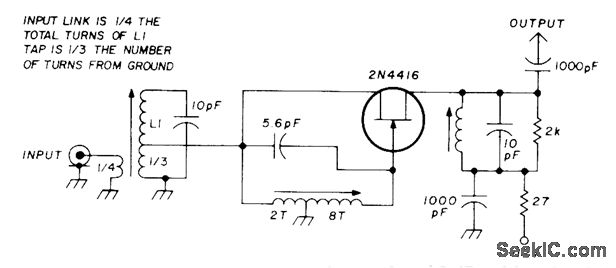
Combination of grounded-gate and grounded-source connections uses bridge arrangement for neutralizing feedback capacitance between gate and drain.Input impedance is transformed in parallel between gate and ground to provide necessary wideband characteristic. Noise figure is between 1 and 2 dB, with gain of about 15 dB. Circuit is unconditionally stable, and combines optimum matching for best noise, lowest input SWR, and high power gain.-U. Rohde, High Dynamic Range Two-Meter Converter, Ham Radio, July 1977, p 55-57.
Reprinted Url Of This Article:
http://www.seekic.com/circuit_diagram/Signal_Processing/2_m_LOW_NOISE_PREAMP.html
Print this Page | Comments | Reading(3)
Code: