Published:2009/7/17 2:25:00 Author:Jessie | From:SeekIC


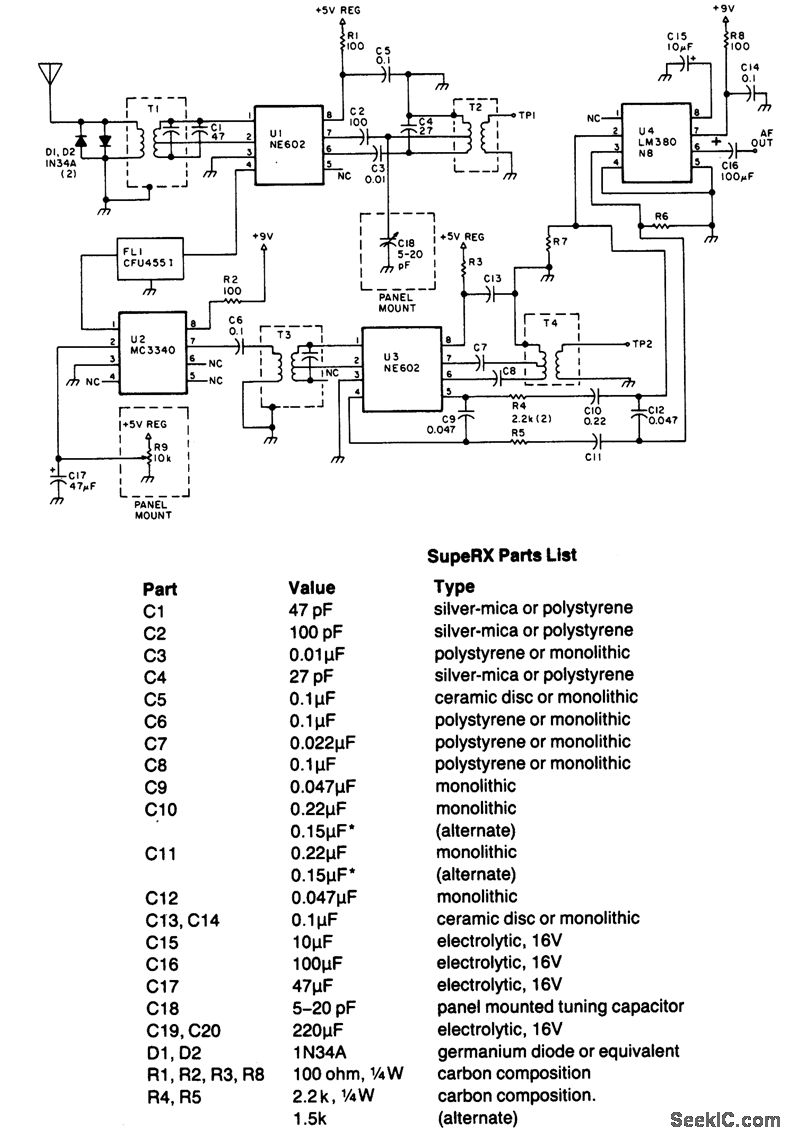
In this circuit,U1 is a frequency converter that feeds the 455-kHz IF stage U2 and detector U3. U4 is the audio output stage. R9 is a gam control that vanes the gam of U2.Coil dataisgtven h the part list.
Reprinted Url Of This Article:
http://www.seekic.com/circuit_diagram/Signal_Processing/35_TO_10_MHz_SIMPLE_SUPERHETERODYNE_RECEIVER.html
Print this Page | Comments | Reading(3)
Code: