Published:2009/7/21 7:27:00 Author:Jessie | From:SeekIC

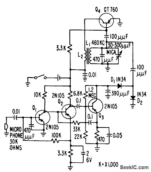
Radiates about 0.2 micromicrowatt directly from tank circuit to establish induction field within usable area of auditorium stage without exceeding FCC radiation field limitation. Normal speaking voice produces peak f-m deviation of about 10 kc.-G. F. Montgomery, Wireless Microphone Uses F-M Modulation, Electronics, 31:1, p 54-55.
Reprinted Url Of This Article:
http://www.seekic.com/circuit_diagram/Signal_Processing/460_KC_F_M_WIRELESS_MICROPHONE.html
Print this Page | Comments | Reading(3)
Code: