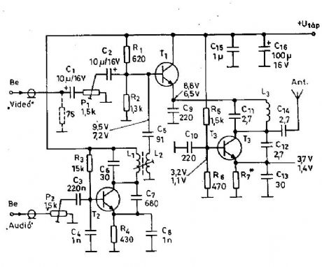
Published:2013/7/11 22:27:00 Author:muriel | Keyword: 500MHz, video signal transmitter | From:SeekIC

Reprinted Url Of This Article:
http://www.seekic.com/circuit_diagram/Signal_Processing/500MHz_video_signal_transmitter.html
Print this Page | Comments | Reading(3)
Code: