Published:2011/5/24 2:52:00 Author:TaoXi | Keyword: electronic candle | From:SeekIC

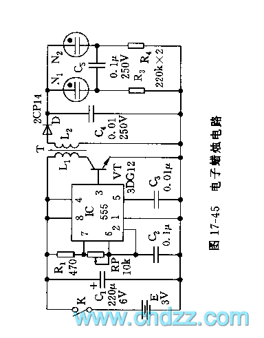
As the figure 17-45 shows, the electronic candle circuit is composed of the 555 oscillator and the boosting circuit.etc.
The astable multivibrator is composed of the 555 and R1,RP,C2.etc, the oscillation frequency f=1.44/(R1+RP)C2, by adjusting RP, you can make the oscillation frequency to 1kHz. The 555's output port drives the VT boosting amplifier circuit, the secondary stage of the transformer T can produce the 100V 1kHz singal, and this signal is rectified by the diode, then adds to the load neon tube to produce the soft and bright light. The transformer T uses the M4 type magnetic core.
Reprinted Url Of This Article:
http://www.seekic.com/circuit_diagram/Signal_Processing/555_electronic_candle_circuit.html
Print this Page | Comments | Reading(3)
Code: