Published:2009/7/6 5:42:00 Author:May | From:SeekIC

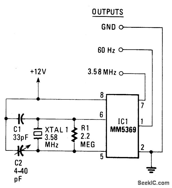
The circuit provides a clean, stable square wave and it will operate on anywhere from 6 to 15 volts. The IC and color-burst crystal are the kind used in TV receivers. The 3.58 MHz output makes a handy marker signal for shortwave bands.
Reprinted Url Of This Article:
http://www.seekic.com/circuit_diagram/Signal_Processing/60_Hz_CLOCK_PULSE_GENERATOR.html
Print this Page | Comments | Reading(3)
Code: