Published:2009/7/23 22:32:00 Author:Jessie | From:SeekIC

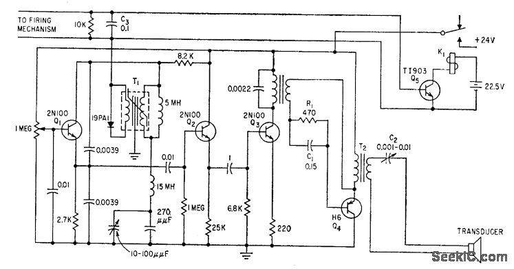
Consists of oscillator, buffer, driver, and power amplifier feeding barium titanate projector. Bandwidth is 1 kc in 60-kc region. Used to monitor underwater mine operation as test ships pass over. Receiving hydrophone on bottom may be up to 600 feet away. When mine senses approach of target, relay K1 is activated, turning on transmitter.-M. J. Aucremanne and D. D. Woolston, Telemeter System Relays Undersea Ordnance Data, Electronics, 31 :41, p 84-87.
Reprinted Url Of This Article:
http://www.seekic.com/circuit_diagram/Signal_Processing/60_KC_UNDERWATER_TRANSMITTER.html
Print this Page | Comments | Reading(3)
Code: