Published:2014/5/7 22:48:00 Author:lynne | Keyword: 70MHz in parallel crystal oscillator circuit, 3DG82B | From:SeekIC

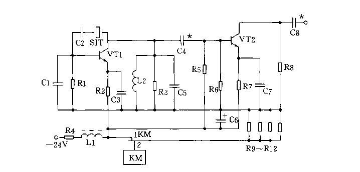
70MHz in parallel crystal oscillator circuit as shown:
Reprinted Url Of This Article:
http://www.seekic.com/circuit_diagram/Signal_Processing/70MHz_in_parallel_crystal_oscillator_circuit.html
Print this Page | Comments | Reading(3)
Code: