Published:2009/7/16 2:23:00 Author:Jessie | From:SeekIC

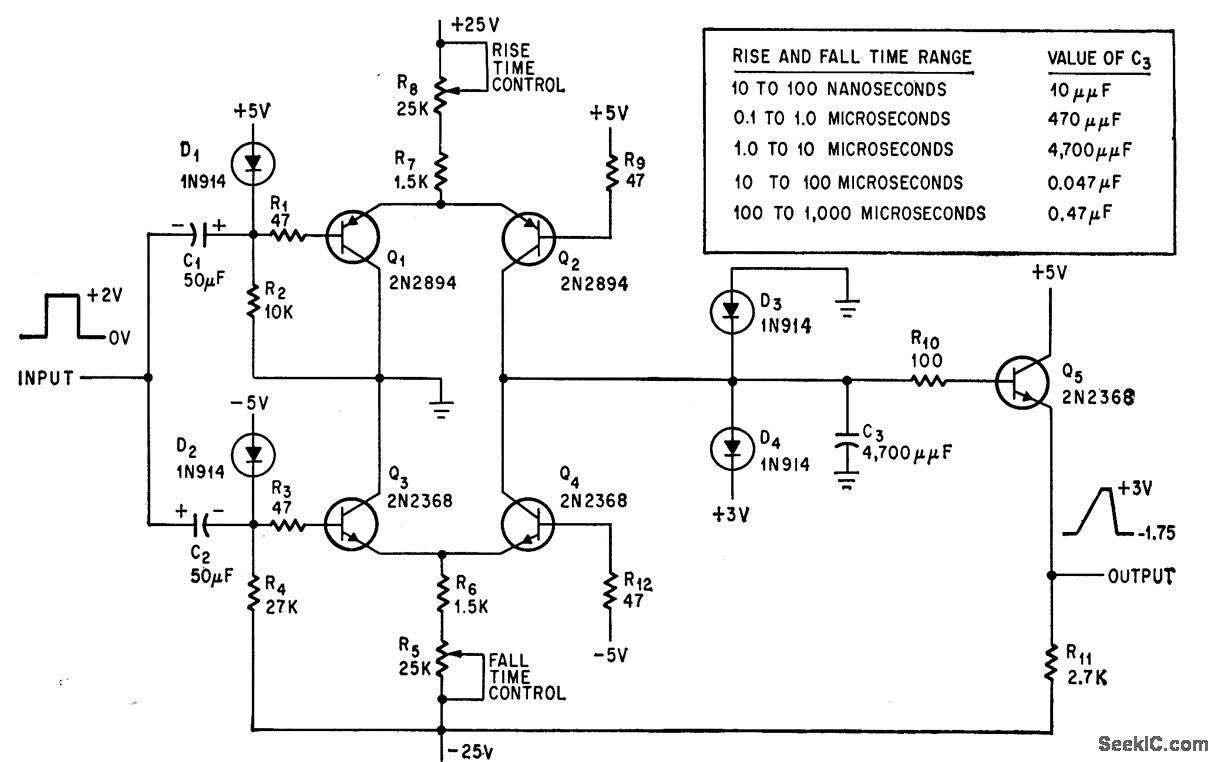
constant-current source Q1-Q2 charges C3,while Constany-current sink Q3-Q4 discharges C3.-D. N Lee, Rise Time Adjustment Independent Of Fall Time, Electronics, 38:2 p76-78.
Reprinted Url Of This Article:
http://www.seekic.com/circuit_diagram/Signal_Processing/ADJUSTABLE_RISE_AND_FALL_TIMES.html
Print this Page | Comments | Reading(3)
Code: