Published:2009/7/20 20:28:00 Author:Jessie | From:SeekIC

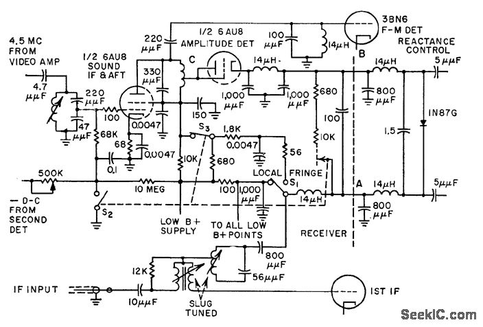
Complele automatic fine tuning system com bines features of fringe switching and auto matic-manual operation. Switching transients are reduced by 180-mmfd capacitor-C. W. Baugh, Jr., and L. J. Sienkiewicz, Sound Signal Tunes Tv Automatically, Electronics, 31:17, p 54-58.
Reprinted Url Of This Article:
http://www.seekic.com/circuit_diagram/Signal_Processing/AUTOMATIC_LOCAL_FRINGE_TUNING.html
Print this Page | Comments | Reading(3)
Code: