Published:2011/5/24 1:23:00 Author:John | Keyword: rice cooker reactor | From:SeekIC

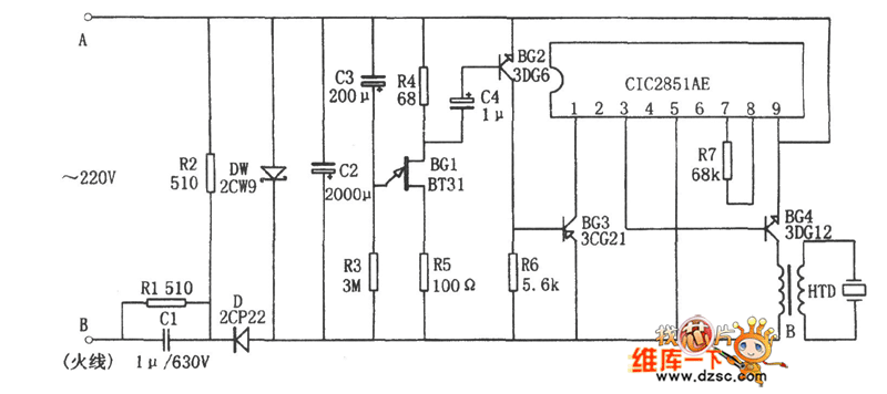
Rice cooker reactor circuit is shown in the figure. The circuit consists of 10-minute time delay circuit, 3V buck power supply, music integrated circuit CIC2851AE and piezoelectric ceramic HTD and so on. And the 10-minute delay circuit is mainly composited by BG1 R3 and C3. The 3V buck power supply mainly consist C1, R1, R2, D, DW and C2. The points A and B are parallel connected to control switch of the rice cooker.
When the rice cooker works normally, voltage on ends A and B is 0 and the entire circuit does not work. When water in rice cooker boils to dry, the master switch trips and ends A and B are given AC voltage. And the circuit begins to work. The voltage passes through the buck power supply and 10-minute delay circuit. After the delay circuit, the music integrated circuit CIC2851AE begins to work. And the output audio signal is amplified by the BG4 to drive HTD to be audible.
Reprinted Url Of This Article:
http://www.seekic.com/circuit_diagram/Signal_Processing/CIC2851AE_rice_cooker_reactor_circuit.html
Print this Page | Comments | Reading(3)
Code: