Published:2011/7/7 9:49:00 Author:Felicity | Keyword: Dangerous Area Warning Device, the 3rd | From:SeekIC

Work of the circuit
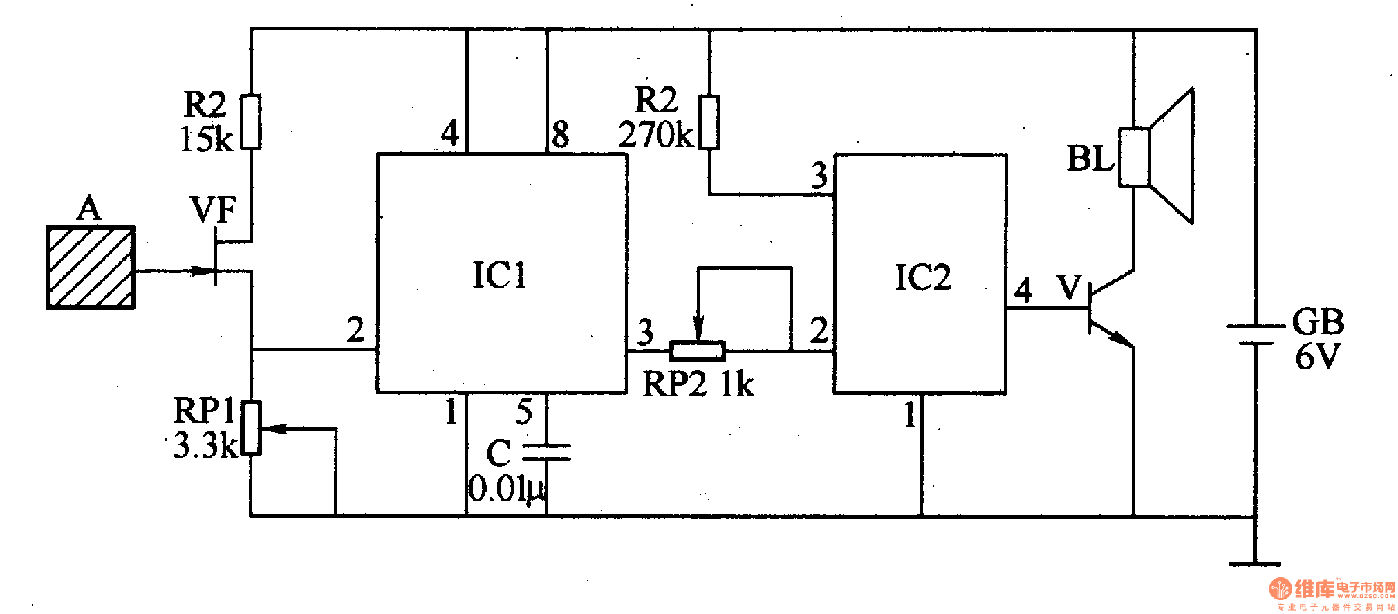
The circuit consists of sensing electrodes A, JFET VF, time-base integrated circuit ICl, language integrated circuit IC2, audio amplification V and speaker BL.(It is showed in the picture 8-123.)
When no one is near to the pole A, the resistance between VF’s drain and source is low. And the value of thee current is large. The level of IC1’s pin 2 is lower than Vcc/3. The alarm does not work.
Change the value of RP1 and RP2 to change the sensitivity of the circuit. If someone is within the distance of 0.5m to the pole, the alarm works.
Reprinted Url Of This Article:
http://www.seekic.com/circuit_diagram/Signal_Processing/Dangerous_Area_Warning_Device_the_3rd.html
Print this Page | Comments | Reading(3)
Code: