Published:2011/7/29 3:36:00 Author:Felicity | Keyword: Drunken Driving Limiter, the 1st | From:SeekIC

Work of the circuit
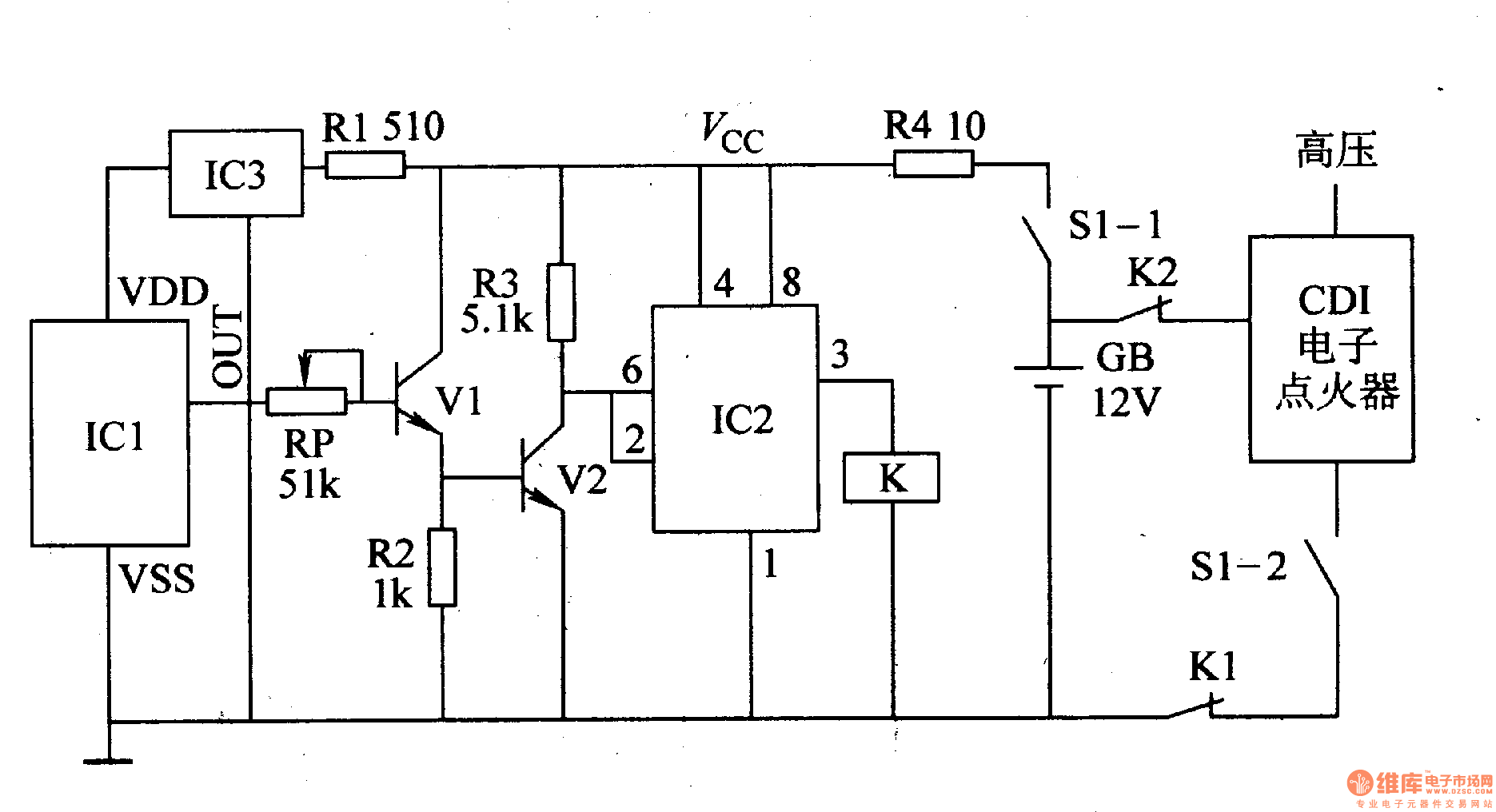
The circuit consists of power circuit, alcoholic testing circuit, amplifying circuit and trigger circuit. (It is showed in picture 7-160.)
Power circuit consists of current limiting resistor R4, Rl, and one end integrated voltage regulator IC3. +12V voltage is limited by R4. Then the voltage works as the working voltage of the trigger and signal amplifier circuit. The is limited by R1 and regulated by IC3. It then turns into +5V and supplied to the alcoholic testing circuit.
Alcoholic testing circuit consists of alcohol (ie ethanol) sensor components ICl and variable resistor RP.
Amplifying circuit consists of transistor Vl, V2 and resistors R2, R3.
Trigger circuit consists of time-base integrated circuit IC2.
When you turn on the switch the power circuit starts to work. When the alcoholic sensory package does not test the sense of alcohol, the car works without interference.
But if the driver is drunk IC1 tests, the sense of alcohol. The voltage of IC1 raises and the trigger is detonated. The high voltage circuit of the car is cut off. The driver cannot start the car.
Reprinted Url Of This Article:
http://www.seekic.com/circuit_diagram/Signal_Processing/Drunken_Driving_Limiter_the_1st.html
Print this Page | Comments | Reading(3)
Code: