Published:2011/6/6 6:36:00 Author:Felicity | Keyword: Drunken Driving Limiter (the 2nd) | From:SeekIC

Work of the circuit
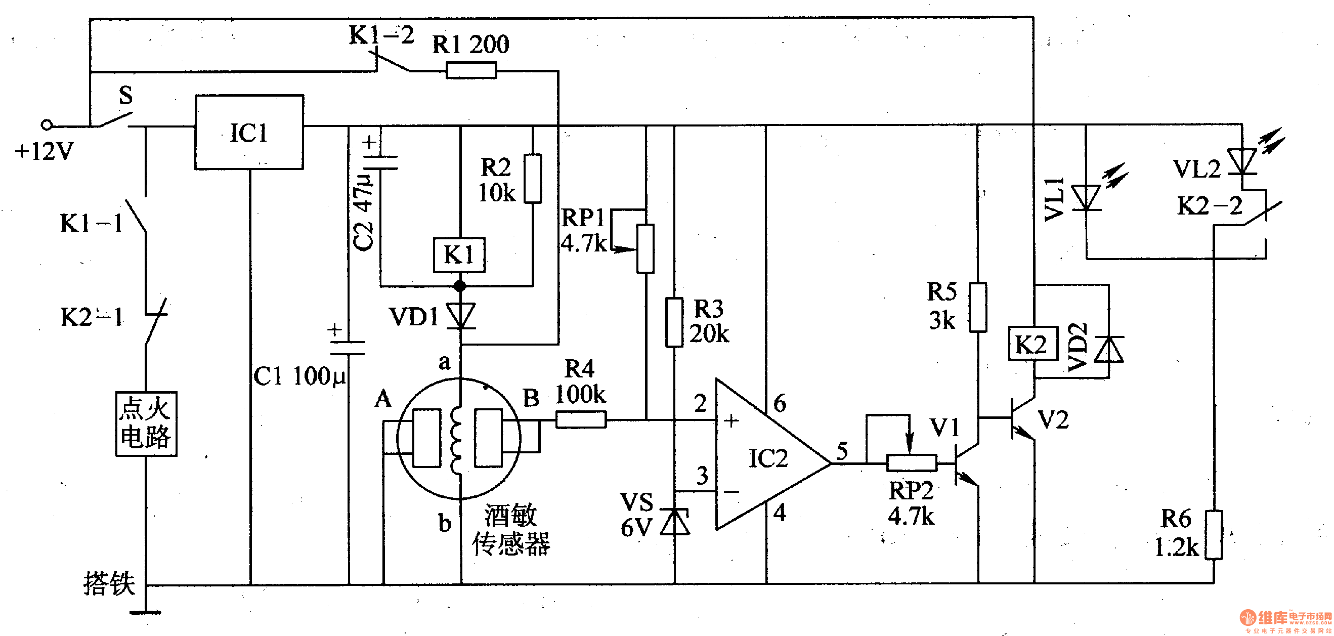
The circuit consists of the power voltage stabilizing circuit, LED instructing circuit, alcoholic sensitivity alcohol control circuit and control executing circuit. (It is showed in picture 7-161.)
Turn on the igniting switch S. The +12V voltage is adjusted by IC1 and C1 and provides working power to LED instructing circuit and alcoholic sensitivity alcohol control circuit.
If the driver is drunk and wants to turn on S. IC1 tests the sense of alcohol. The electric resistance will become smaller. The power circuit of igniting circuit is cut off. The driver cannot start the car.
Reprinted Url Of This Article:
http://www.seekic.com/circuit_diagram/Signal_Processing/Drunken_Driving_Limiter_the_2nd.html
Print this Page | Comments | Reading(3)
Code: