Published:2009/7/24 2:01:00 Author:Jessie | From:SeekIC


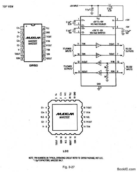
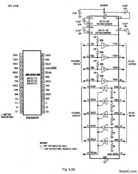
Figure 3-27 shows the typical application circuits and pin configurations for the MAX202E,232E. Figure 3-28 shows the MAX211E, 213E, 241E. These ICs are designed to operate in harsh environments, but still meet EIA/TIA-232E specifications. Each transmitter output and receiver input is protected against ±15-kV electrostatic discharge (ESD). MAXIM NEW RELEASES DATA Book 1995, P.2-54, 2-55.
Reprinted Url Of This Article:
http://www.seekic.com/circuit_diagram/Signal_Processing/ESD_protected_transceivers_5_V.html
Print this Page | Comments | Reading(3)
Code: