Published:2011/7/16 0:39:00 Author:Felicity | Keyword: Electrical Pulse, Therapeutic Apparatus | From:SeekIC

Work of the circuit
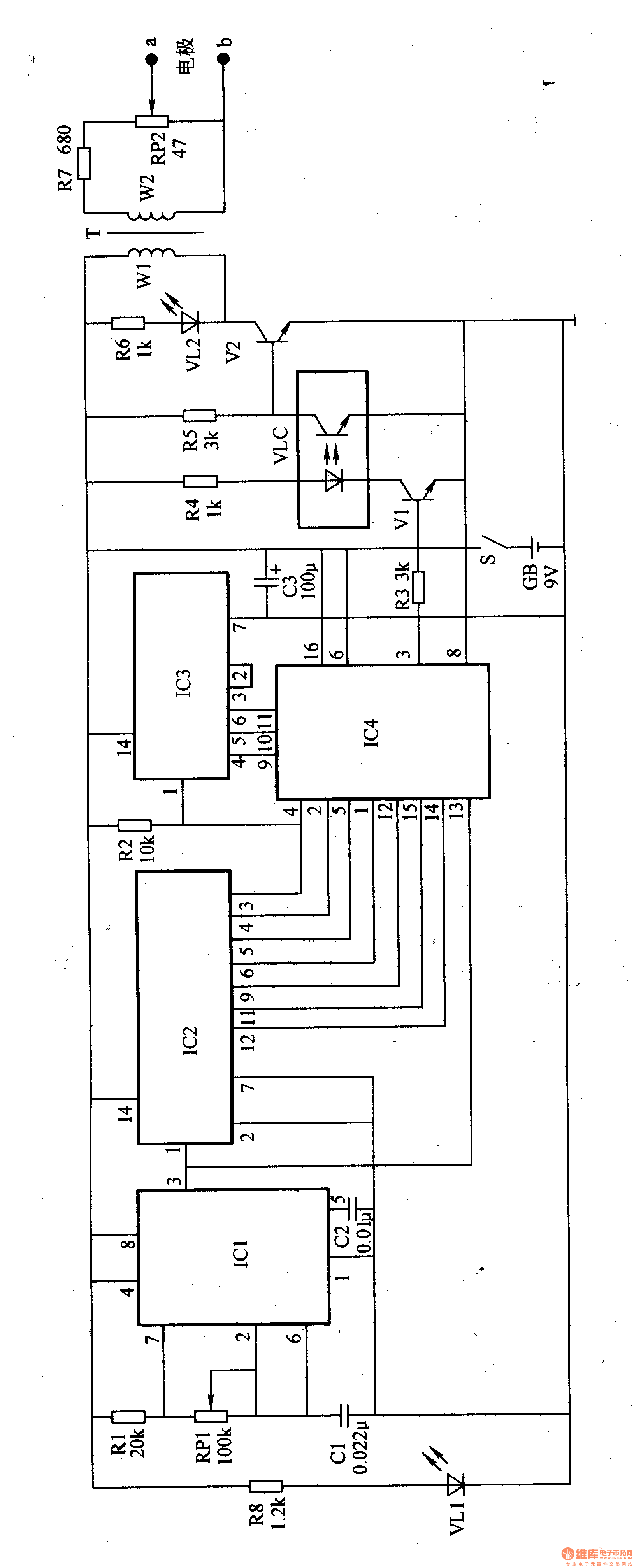
The circuit consists of power circuits, low-frequency oscillator, frequency control circuit and pulse voltage generating circuit. (It is showed in the picture 9-10.)
Power circuit consists of Power switch S, batteries GB, filter capacitor C3, limiting resistor R8 and the power indicator LED VLl.
Low-frequency oscillator consists of Resistors Rl, potentiometers RPl, capacitor Cl, C2 and time-base integrated circuit ICl.
Frequency control circuit consists of count divider integrated circuit IC2, 1C3, electronic switch integrated circuit IC4, resistors R3, R4, transistors Vl and optocoupler light emitting diode inside the VLC.
Pulse voltage generating circuit consists of resistors R5-R7, light-emitting diodes VL2, transistor V2, VLC internal photosensitive transistor, the pulse transformer T, and electrode potential R and poles a, b.
Reprinted Url Of This Article:
http://www.seekic.com/circuit_diagram/Signal_Processing/Electrical_Pulse_Therapeutic_Apparatus_the_10th.html
Print this Page | Comments | Reading(3)
Code: