Published:2011/7/29 4:30:00 Author:Felicity | Keyword: Electrical Pulse, Therapeutic Apparatus | From:SeekIC

Work of the circuit
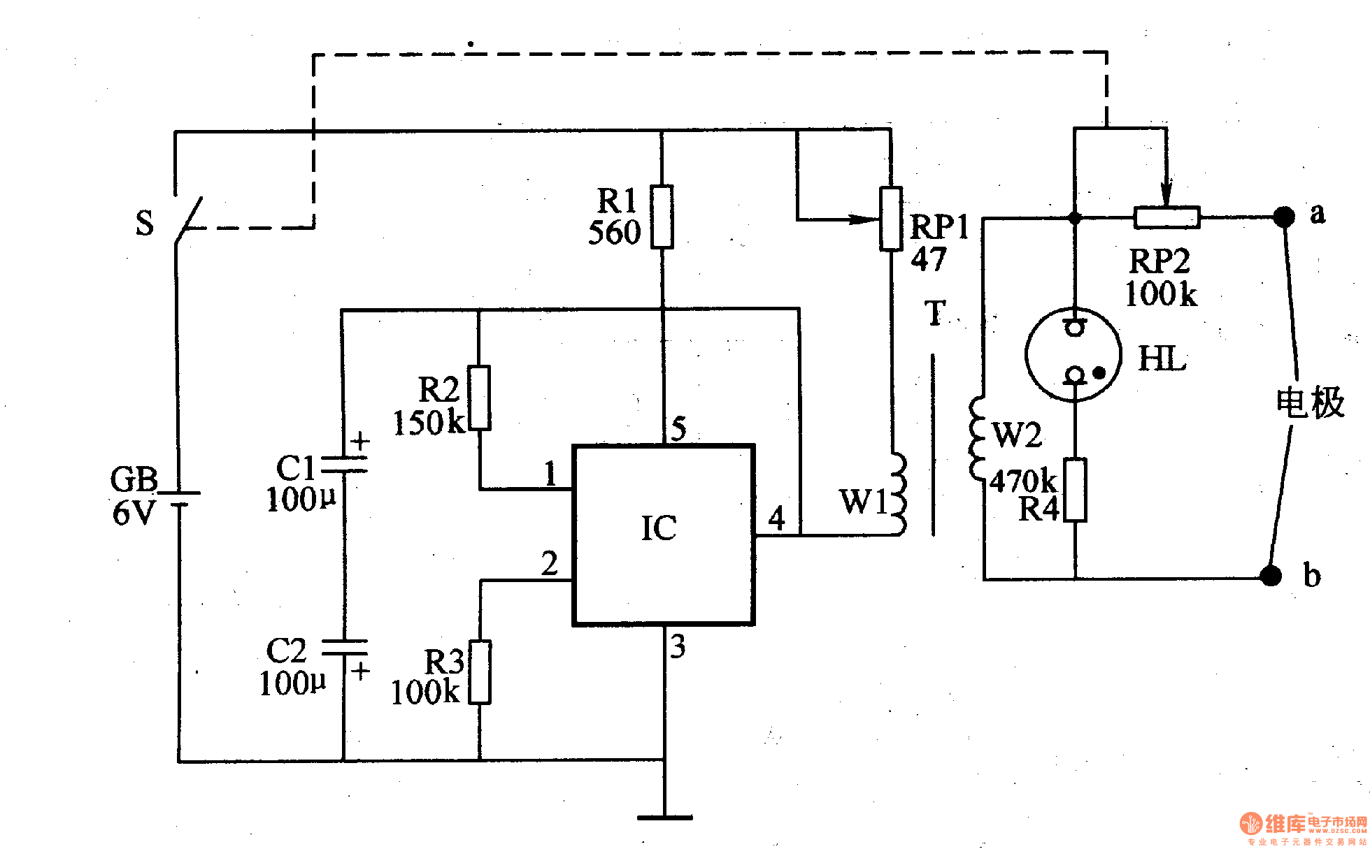
The circuit consists of intermittent oscillator and pulse voltage output circuit. (It is showed in the picture 9-3.)
Intermittent oscillator consists of electronic switch IC, resistors Rl-R3, capacitor Cl and C2, potentiometer RPl and winding Wl of pulse transformer T.
Pulse voltage output circuit consists of T’s winding W2, potentiometer RP2, resistors R4, HL and neon indicator tube electrodes a, b.
Change the value of RP1 to change the intensity of the pulse frequency.
Change the value of RP2 to change the magnitude of the output pulse voltage.
Reprinted Url Of This Article:
http://www.seekic.com/circuit_diagram/Signal_Processing/Electrical_Pulse_Therapeutic_Apparatus_the_3rd.html
Print this Page | Comments | Reading(3)
Code: