Published:2011/7/7 10:00:00 Author:Felicity | Keyword: Electronic Pain Relieving Instrument, the 1st | From:SeekIC

Work of the circuit
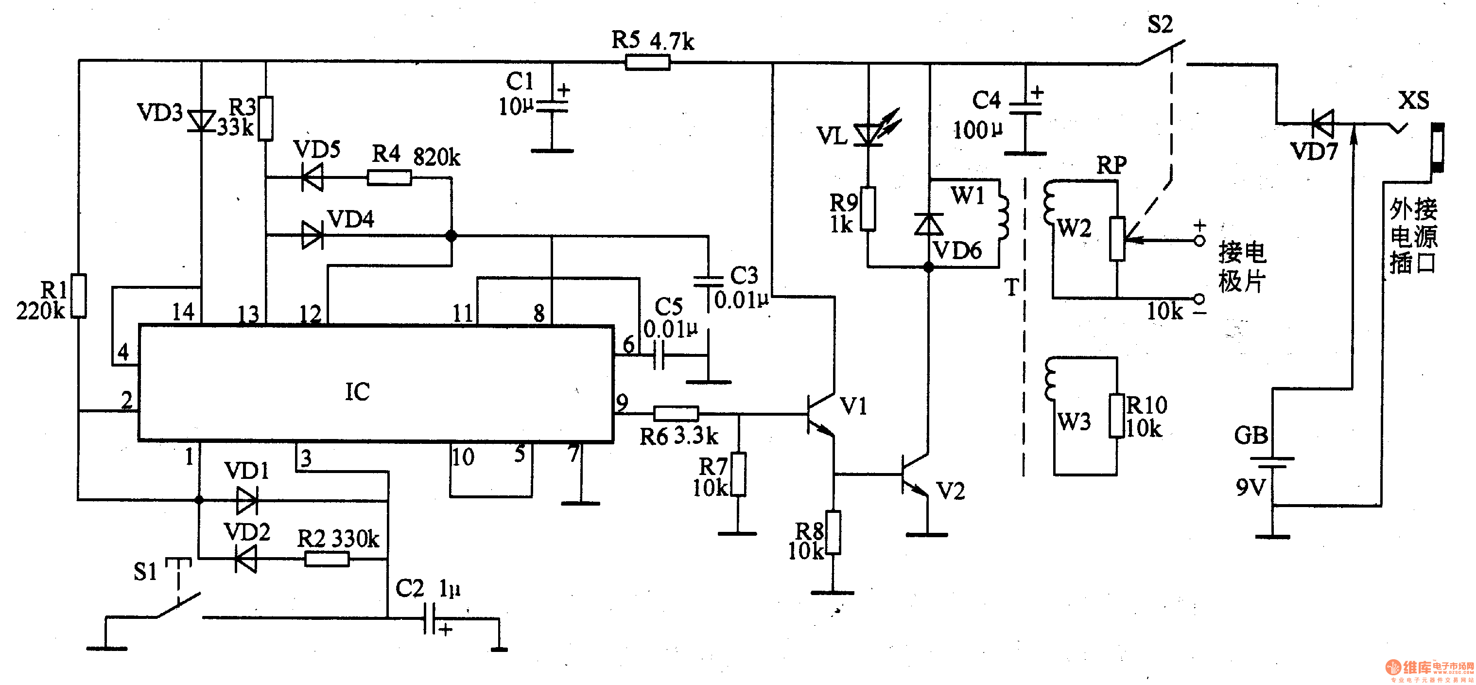
The circuit consists of pulse making circuit, controlling circuit and voltage rising circuit. (It is showed in picture 9-31.)
Turn on switch S1 and capacitor is short. Pulse maker makes continues pulse. Then S1 is turned off and the pulse maker makes intermitted pulse.
IC1’s pin 9 outputs pulse signal. The signal is amplified by V1 and V2 and becomes electronic pulse on W2. The electronic pulse stimulates the sexine nurse of skin and makes the cerebrum center make pain relieving hormone.
Reprinted Url Of This Article:
http://www.seekic.com/circuit_diagram/Signal_Processing/Electronic_Pain_Relieving_Instrument_the_1st.html
Print this Page | Comments | Reading(3)
Code: